河北某项目设计有CO₂储罐3台,储罐设置与注满水的水池中密封,储罐内也注满水;卸车时,槽车内的CO₂通过高位差自流入罐中,储罐内的水通过溢流口排入各自配套的补水罐。输送CO₂时,通过打料泵加压将补水罐水打至储罐内上方,给储罐加压,将CO₂通过储罐出料口压出。
一、使用中的存在问题及原因分析
项目中 3 台CO₂储罐液位原设计为磁翻板液位计,由于磁珠翻转计离合等机械动作,随时间和环境极易发生故障,造成在储罐卸料过程中溢流至补水罐,造成补水罐存在一定量的CO₂溢流液,补水罐也采用磁翻板液位计测量补水罐液位,无法检测出是否存在溢流液及存量。仅凭操作人员现场操作经验采取不定期人工检测或周期排放 ;如此,均存在一定操作危险性和不确定性。为避免出现危险或者意外情况,需要检测出补水罐是否存在CO₂的溢流液。
二、防溢液检测与系统构成
针对上述情况,分析相关原因,设计采用了一套防溢液检测系统,对补水罐更换液位检测方式,即采用磁致伸缩液位计检测补水罐的界位、水的液位和测量罐的水位,同时也能对溢流液进行检测 ;系统由液位计检测器、液位控制器、报警灯组成,如图1所示。当检测出补水罐存在溢流液时,磁致伸缩液位计发出信号,液位控制器发出报警,报警指示灯发出声光报警,提醒工作人员及时处理。
磁致伸缩液位计检测器
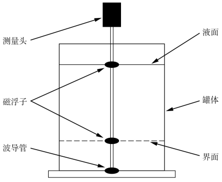
液位计检测器采用磁致伸缩液位计,由三部分组成 :传感器、探测杆、电路单元。液位计以浮球测量为基础,根据水和SO₂的各自密度不同且不互溶,采用双浮球测量,下浮球测量溢流液和水的分界面(SO₂的液位),上浮球测量密封水罐水的液面。磁致伸缩液位传感器总体结构如图 2 所示。

磁致伸缩液位计的传感器是由测量头(包括脉冲发生、回波接受、信号加测与处理电路)、波导管和磁浮子组成;其中测量头装置在罐体之外,波导管外有不锈钢或铝合金的保护套管,插入液体中直达罐 底,底部固定在罐底,磁浮子可以有两个,一个测量 液位,一个测量界位。传感器是利用磁致伸缩的物理特性进行测量,不受介质的介电常数、温度或压力变化的影响。在非磁性传感管的内部有一根拉紧的磁致伸缩线,电路单元沿磁致伸缩线发射电流脉冲,从而在磁致伸缩线周围产生一个环形磁场,液位浮子内有一组永久磁钢,其磁场使磁致伸缩线沿轴向磁化。当电流磁场和磁铁磁场叠加,浮子位置的磁致伸缩线将产生一个瞬时扭力,同时产生返回脉冲,该脉冲沿磁致伸缩线向两端传送,一端传向传感器的顶端。其返回的脉冲波被变送器电子单元接收,由于脉冲波传播速度是恒定值,电子单元只需通过计算脉冲和返回脉冲的时间差就可以测量浮子中磁钢的位置,从而得到精确的液位。
磁致伸缩液位计的优点在于 :
(1)高精度 :磁致伸缩液位计属于计量级仪表,具有高精度(其精度可达0.05%F.S或0.5mm)、高稳定性和高可靠性等特点,使用寿命长,不需要频繁标定和维护。
(2)可靠性强 :由于采用波导原理,无机械可动部分,故无摩擦,无磨损。整个变换器封闭在不锈钢管内,和测量介质非接触,传感器工作可靠,寿命长。
(3)安全性:液位计的防爆性能高,本安型防爆,使用安全。
(4)系统自动化工作 :液位计的二次仪表采用标准输出信号,对信号进行处理,容易实现联网工作,提高整个测量系统的自动化程度。
磁致伸缩液位计主要技术性能:供电电压DC12 ~ 36 V(额定值 DC 24 V);
环境温度:-20 ~ 70 ℃ ;
输出:4 ~ 20 mA 信号叠加 HART 通信 ;
防爆等级 :ExiaIICT6。
液位控制器及报警
液位控制器采用AI500,从液位探测器接收到液位信号,通过控制器开关接点输出开关信号,报警灯发出声光报警。
液位控制器的主要技术性能:供电电压 :AC220 V±10% ;
功耗 :< 5W ;
环境温度 :
-20 ~ 70 ℃ ;
输入信号:4 ~ 20 mA叠加HART通信、输出开关接点信号。
三、应用及效果和注意事项
在本项目中的 3 台补水罐采用磁致伸缩液位计后,能够有效检测出溢流液的存在,发出报警,提醒工作人员及时处理,从而保证卸车过程中防止CO₂的溢流,提高储存的安全性。尤其在原有储罐也更换磁致伸缩液位液位计后,更加可靠地保证储罐界位的准确测量,有效防止溢流液的产生,提高储存安全性 ;而且配置磁致伸缩液位计进行温度测点后,可以实时检测储罐内液体温度,修正液体密度,更好保证液位测量的精度。
为保证使用效果,实际应用中有以下几个事项需要引起注意 :
(1)在磁致伸缩液位计安装时,远离进、出料口,远离振动、腐蚀性空气及可造成机械损伤之处。垂直安装,避免弯曲受力,安装倾斜度不能大于 5°。外壳可靠接地,安装区域有避雷装置。
(2)确保传感器的浮球与容器壁(或安装管)互不接触,且浮球上下活动灵活,安装螺纹与容器连接牢固,电器接触良好。
(3)液位计的连接电缆敷设时远离大功率电源、射频信号源等干扰源。
4 结束语
通过设计的储罐防溢液检测装置,测量出补水罐溢流液的液位,提高了CO₂卸车过程的安全性。同时在储罐中使用磁致伸缩液位计测量界位,保证测量准确性,也解决了装卸再次溢流至补水罐的问题。

微信扫一扫